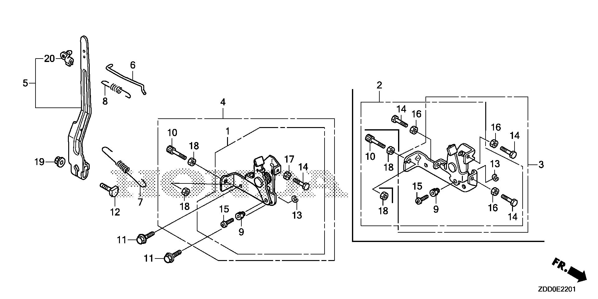
Engines GX GX100 GX100RT KRCE GCCCT-1000001-9999999 CONTROL (2) - L&M Supply

Ref No
Part Number
Description
Serial Range
Qty
Price

Ref No
3
Part Number
16500-Z4E-S30
Description
CONTROL ASSY.
Serial Range
1000001 - 9999999
Qty
Price
$32.48

Ref No
5
Part Number
16550-Z0D-V01
Description
ARM, GOVERNOR
Serial Range
1000001 - 9999999
Qty
Price
$18.58

Ref No
6
Part Number
16555-Z0D-V00
Description
ROD, GOVERNOR
Serial Range
1000001 - 9999999
Qty
Price
$2.32

Ref No
7
Part Number
16561-Z0D-V00
Description
SPRING, GOVERNOR
Serial Range
1000001 - 9999999
Qty
Price
$3.30

Ref No
8
Part Number
16562-Z4E-S10
Description
SPRING, THROTTLE RETURN
Serial Range
1000001 - 9999999
Qty
Price
$2.36

Ref No
9
Part Number
16594-883-010
Description
HOLDER, WIRE
Serial Range
1000001 - 9999999
Qty
Price
$8.60

Ref No
11
Part Number
90014-952-000
Description
BOLT, FLANGE (6X14) (CT200)
Serial Range
1000001 - 9999999
Qty
Price
$2.86

Ref No
12
Part Number
90015-Z5T-000
Description
BOLT, GOVERNOR ARM
Serial Range
1000001 - 9999999
Qty
Price
$0.56

Ref No
13
Part Number
90605-230-000
Description
CIRCLIP (5MM)
Serial Range
1000001 - 9999999

Ref No
14
Part Number
92101-05020-0A
Description
BOLT, HEX. (5X20)
Serial Range
1000001 - 9999999
Qty
Price
$1.42

Ref No
15
Part Number
93500-04006-0H
Description
SCREW, PAN (4X6)
Serial Range
1000001 - 9999999
Qty
Price
$1.10

Ref No
16
Part Number
94001-05000-0S
Description
NUT, HEX. (5MM)
Serial Range
1000001 - 9999999
Qty
Price
$3.34

Ref No
16
Part Number
94001-05000-0S
Description
NUT, HEX. (5MM)
Serial Range
1000001 - 9999999
Qty
Price
$3.34

Ref No
19
Part Number
94050-06000
Description
NUT, FLANGE (6MM)
Serial Range
1000001 - 9999999
Qty
Price
$0.82

Ref No
20
Part Number
16263-883-W10
Description
JOINT, ROD
Serial Range
1000001 - 9999999