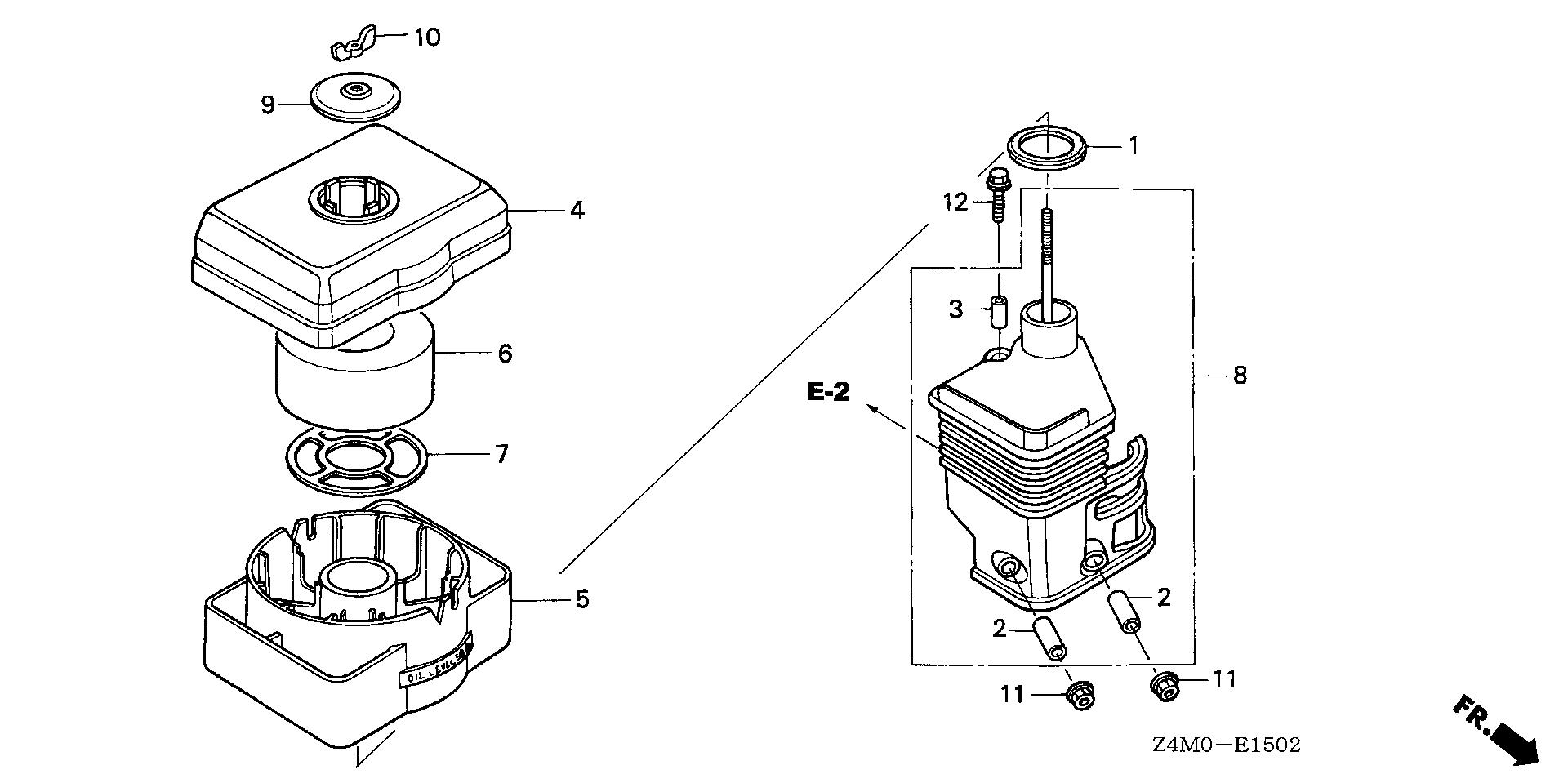
Engines GX GX160 GX160UT2 QA2 GCBPT-1000001-3999999 AIR CLEANER (3) - L&M Supply

Ref No
Part Number
Description
Serial Range
Qty
Price

Ref No
1
Part Number
16271-ZE1-000
Description
GASKET, ELBOW
Serial Range
1000001 - 9999999

Ref No
2
Part Number
17238-ZE7-010
Description
COLLAR, AIR CLEANER
Serial Range
1000001 - 9999999
Qty
Price
$4.44

Ref No
3
Part Number
17239-ZE1-000
Description
COLLAR B, AIR CLEANER
Serial Range
1000001 - 9999999
Qty
Price
$4.44

Ref No
4
Part Number
17401-ZE1-810
Description
BODY, CLEANER (OIL BATH)
Serial Range
1000001 - 9999999
Qty
Price
$34.52

Ref No
5
Part Number
17402-ZE1-810
Description
PAN, CLEANER OIL (OIL BATH)
Serial Range
1000001 - 9999999
Qty
Price
$34.52

Ref No
6
Part Number
17403-ZE1-810
Description
ELEMENT, AIR CLEANER (OIL BATH)
Serial Range
1000001 - 9999999
Qty
Price
$5.32

Ref No
7
Part Number
17404-841-000
Description
GRID, AIR CLEANER
Serial Range
1000001 - 9999999
Qty
Price
$10.54

Ref No
8
Part Number
17410-ZE1-030
Description
ELBOW, AIR CLEANER
Serial Range
1000001 - 9999999
Qty
Price
$38.66

Ref No
9
Part Number
17421-ZE1-000
Description
CAP, CLEANER
Serial Range
1000001 - 9999999
Qty
Price
$12.26

Ref No
10
Part Number
90325-044-000
Description
NUT, TOOL BOX SETTING
Serial Range
1000001 - 9999999
Qty
Price
$5.14

Ref No
11
Part Number
94050-06000
Description
NUT, FLANGE (6MM)
Serial Range
1000001 - 9999999
Qty
Price
$0.82

Ref No
12
Part Number
95701-06020-00
Description
BOLT, FLANGE (6X20)
Serial Range
1000001 - 9999999
Qty
Price
$1.98