Generators EB EB4000 EB4000X AT EBSC-1000001-9999999 CAMSHAFT - L&M Supply

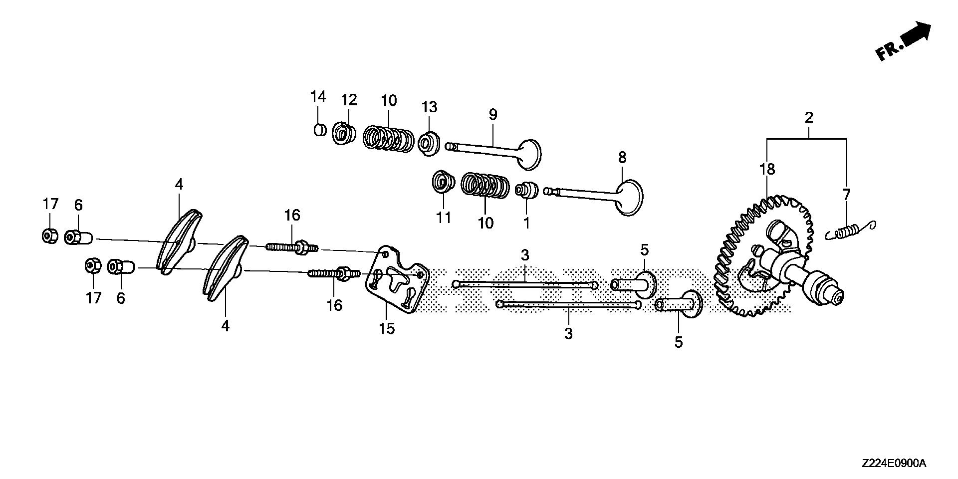
Ref No
Part Number
Description
Serial Range
Qty
Price

Ref No
1
Part Number
12209-ZE8-003
Description
SEAL, VALVE STEM
Serial Range
1000001 - 9999999
Qty
Price
$8.18

Ref No
2
Part Number
14100-Z5K-910
Description
CAMSHAFT (STD) (PRESS FIT CAM)
Serial Range
1000001 - 1033929

Ref No
2
Part Number
14100-Z5K-910
Description
CAMSHAFT (STD) (PRESS FIT CAM)
Serial Range
1033930 - 9999999

Ref No
2
Part Number
14100-Z5K-911
Description
CAMSHAFT (STD) (PRESS FIT CAM)
Serial Range
1000001 - 1033929
Qty
Price
$79.06

Ref No
2
Part Number
14100-Z5K-911
Description
CAMSHAFT (STD) (PRESS FIT CAM)
Serial Range
1033930 - 9999999
Qty
Price
$79.06

Ref No
3
Part Number
14410-Z1D-000
Description
ROD, PUSH
Serial Range
1000001 - 9999999
Qty
Price
$8.50

Ref No
4
Part Number
14431-ZE2-010
Description
ARM, VALVE ROCKER
Serial Range
1000001 - 9999999
Qty
Price
$8.92

Ref No
5
Part Number
14441-ZE2-000
Description
LIFTER, VALVE
Serial Range
1000001 - 9999999
Qty
Price
$16.42

Ref No
6
Part Number
14451-Z4M-000
Description
PIVOT, ROCKER ARM
Serial Range
1000001 - 9999999
Qty
Price
$6.16

Ref No
7
Part Number
14568-ZE1-000
Description
SPRING, WEIGHT RETURN
Serial Range
1000001 - 9999999
Qty
Price
$3.24

Ref No
8
Part Number
14711-Z5K-900
Description
VALVE, IN.
Serial Range
1000001 - 9999999
Qty
Price
$8.30

Ref No
9
Part Number
14721-Z5K-900
Description
VALVE, EX.
Serial Range
1000001 - 9999999
Qty
Price
$10.98

Ref No
10
Part Number
14751-Z1C-000
Description
SPRING, VALVE
Serial Range
1000001 - 9999999
Qty
Price
$5.66

Ref No
11
Part Number
14771-Z8S-000
Description
RETAINER, IN. VALVE SPRING
Serial Range
1000001 - 9999999
Qty
Price
$2.28

Ref No
11
Part Number
14771-Z8S-000
Description
RETAINER, IN. VALVE SPRING (EXHAUST SIDE)
Serial Range
1000001 - 9999999
Qty
Price
$2.28

Ref No
12
Part Number
14771-Z8S-000
Description
RETAINER, IN. VALVE SPRING
Serial Range
1000001 - 9999999
Qty
Price
$2.28

Ref No
12
Part Number
14771-Z8S-000
Description
RETAINER, IN. VALVE SPRING (EXHAUST SIDE)
Serial Range
1000001 - 9999999
Qty
Price
$2.28

Ref No
13
Part Number
14775-ZE2-010
Description
SEAT, VALVE SPRING
Serial Range
1000001 - 9999999
Qty
Price
$3.68

Ref No
15
Part Number
14791-Z1D-000
Description
GUIDE, PUSH ROD
Serial Range
1000001 - 9999999
Qty
Price
$0.68

Ref No
16
Part Number
90012-ZE0-010
Description
BOLT, PIVOT (8MM)
Serial Range
1000001 - 9999999
Qty
Price
$8.18

Ref No
17
Part Number
90206-ZE1-000
Description
NUT, PIVOT ADJUSTING
Serial Range
1000001 - 9999999

Ref No
18
Part Number
14100-Z5K-910
Description
CAMSHAFT (STD) (PRESS FIT CAM)
Serial Range
1000001 - 1033929

Ref No
18
Part Number
14100-Z5K-910
Description
CAMSHAFT (STD) (PRESS FIT CAM)
Serial Range
1033930 - 9999999

Ref No
18
Part Number
14100-Z5K-911
Description
CAMSHAFT (STD) (PRESS FIT CAM)
Serial Range
1000001 - 1033929
Qty
Price
$79.06

Ref No
18
Part Number
14100-Z5K-911
Description
CAMSHAFT (STD) (PRESS FIT CAM)
Serial Range
1033930 - 9999999
Qty
Price
$79.06