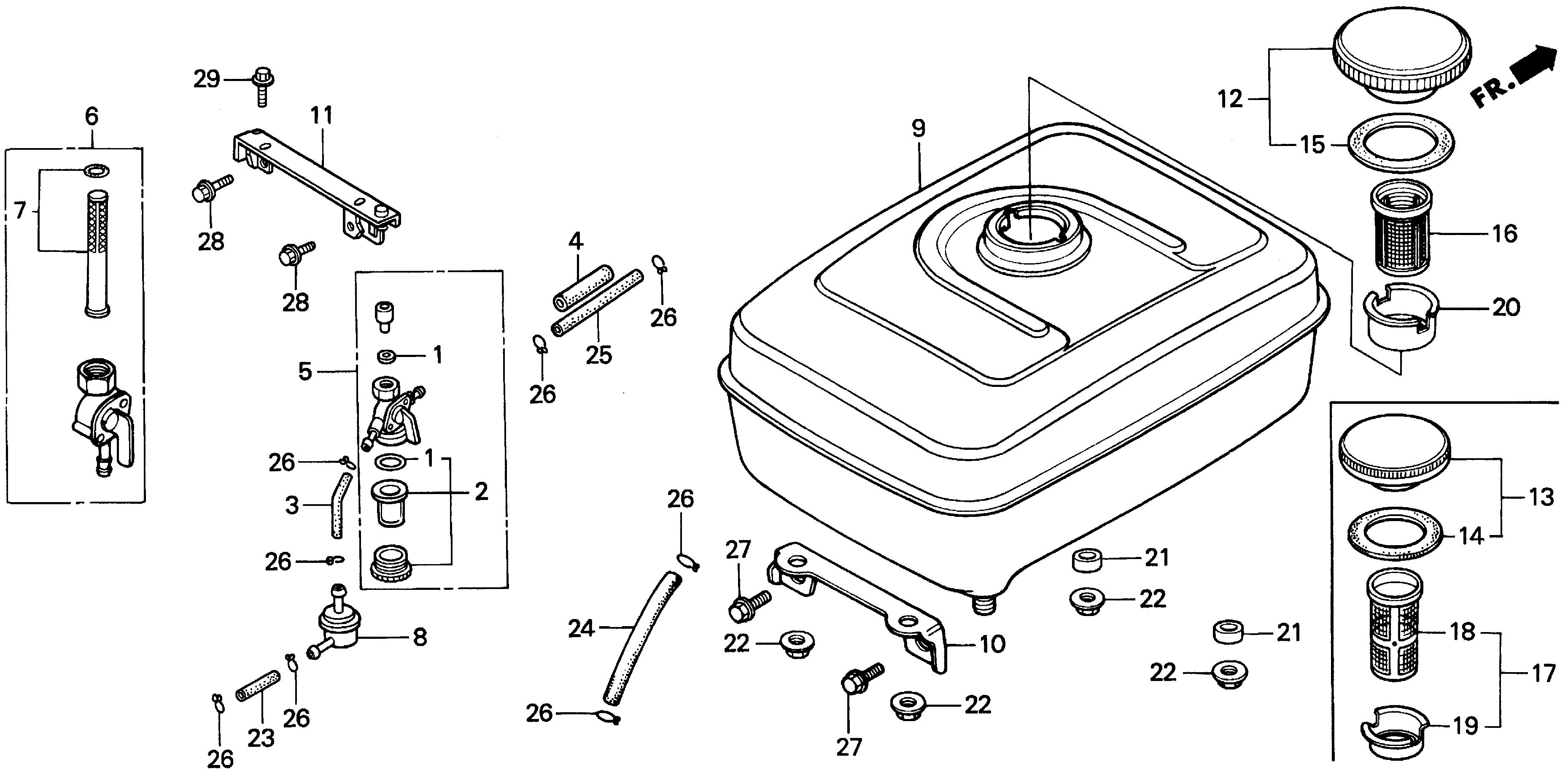
Tillers FR FR700 FR700K1 A FR700-1100001-9999999 FUEL TANK - L&M Supply

Ref No
Part Number
Description
Serial Range
Qty
Price

Ref No
6
Part Number
16950-883-663
Description
PETCOCK ASSY.
Serial Range
1000001 - 9999999
Qty
Price
$47.90

Ref No
7
Part Number
16952-883-005
Description
SCREEN SET
Serial Range
1000001 - 9999999
Qty
Price
$19.54

Ref No
9
Part Number
17510-890-020ZB
Description
TANK, FUEL *R8* (BRIGHT RED)
Serial Range
1375544 - 9999999

Ref No
9
Part Number
17510-890-030ZB
Description
TANK, FUEL *R8* (BRIGHT RED) (NOT AVAILABLE)
Serial Range
1439496 - 9999999

Ref No
10
Part Number
17516-890-000
Description
STAY, FUEL TANK (NOT AVAILABLE)
Serial Range
1000001 - 9999999

Ref No
12
Part Number
17620-Z0T-305
Description
CAP, FUEL FILLER (CHROME PLATED) (TOYOSHA)
Serial Range
1543258 - 9999999

Ref No
12
Part Number
17620-ZH7-023
Description
CAP, FUEL FILLER (BLACK)
Serial Range
1543258 - 9999999

Ref No
15
Part Number
17631-329-003
Description
GASKET, FUEL FILLER CAP (39X58X3)
Serial Range
1543258 - 9999999

Ref No
16
Part Number
17670-880-000
Description
FILTER, FUEL (NOT AVAILABLE)
Serial Range
1000001 - 9999999

Ref No
20
Part Number
17673-893-000
Description
HOLDER, FUEL FILTER
Serial Range
1543258 - 9999999
Qty
Price
$14.74

Ref No
22
Part Number
94050-08080
Description
NUT, FLANGE (8MM)
Serial Range
1000001 - 9999999
Qty
Price
$1.18

Ref No
24
Part Number
95001-45003-60M
Description
BULK HOSE, FUEL (4.5X3000) (4.5X25)
Serial Range
1000001 - 9999999
Qty
Price
$53.32

Ref No
24
Part Number
95001-45003-60M
Description
BULK HOSE, FUEL (4.5X3000) (4.5X70) (95001-4500(95001-45001-60M) (4.5X85)
Serial Range
1000001 - 9999999
Qty
Price
$53.32

Ref No
24
Part Number
95001-45003-60M
Description
BULK HOSE, FUEL (4.5X3000) (4.5X120)
Serial Range
1061253 - 9999999
Qty
Price
$53.32

Ref No
26
Part Number
95002-02080
Description
CLIP, TUBE (B8)
Serial Range
1000001 - 9999999
Qty
Price
$2.20

Ref No
27
Part Number
95701-08016-08
Description
BOLT, FLANGE (8X16)
Serial Range
1000001 - 9999999
Qty
Price
$2.20